
Аэрограф — это символ стремления к безупречной поверхности и чистовой детали в промышленном дизайне. Его принцип работы, объединяющий тонкость художественного жеста с технологичностью, стал архетипом, заложившим основы современных методов финишной отделки и кастомизации продуктов.
История разработки

Истоки аэрографии восходят к древним людям, которые более 35 тысяч лет назад использовали полые тростниковые трубки или кости для распыления растительного красителя.
Этот примитивный метод позволял создавать на стенах пещер отпечатки ладоней путем распыления краски вокруг руки.

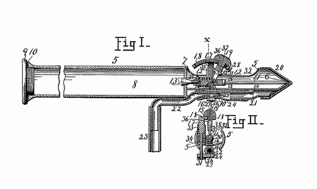
Принцип современного аэрографа был разработан в 1879 году американским ювелиром Эбнером Пилером, создавшим «распределитель краски» из подручных материалов. Дальнейшее развитие технология получила в 1893 году, когда Чарльз Бердик запатентовал устройство, похожее на современные аэрографы и напоминающее авторучку.
Современные аэрографы, даже более века спустя имеют практически идентичную форму и схему.

Аэрограф JAS наследует принципы, заложенные ещё в 19 веке Чарльзом Бердиком. Задача разработчиков заключалась в адаптации этой сложной технологии для массового рынка, сделав её доступной для начинающих художников и моделистов. Основная сложность производства заключалась в точной калибровке миниатюрных компонентов — иглы и сопла — для стабильного распыления без дефектов. В период создания JAS в тренде были функциональность и минимализм, что отразилось в лаконичном дизайне JAS, ориентированном исключительно на эффективность работы для широкой аудитории.
Аналоги и конкуренты
Анализ конкурентов позволяет выделить их основные позиции на рынке:
Премиум-сегмент (Iwata, Harder & Steenbeck): Их философия строится на бескомпромиссном качестве, точности и долговечности. Это инструменты для профессионалов, где цена отходит на второй план перед надежностью и результатом. Они конкурируют не функциями, а стандартом изготовления.
Средний ценовой сегмент (JONNESWAY): Эти бренды предлагают оптимальное соотношение цены и качества. Они стремятся дать хорошие эксплуатационные характеристики, иногда в ущерб безупречности отделки деталей или использованию менее долговечных материалов.
Бюджетный сегмент (JAS): Философия бренда состоит в максимальной доступности и надежность для своей цены. Это инструмент для начинающих и энтузиастов, который позволяет войти в аэрографию с минимальными затратами, хотя и может иметь некоторые компромиссы в качестве полировки или резьбовых соединений.
Harder & Steenbeck (H& S)

+ Немецкая инженерия, безупречное качество полировки, надежность, модульность некоторых моделей
- Стоимость значительно выше, чем у JAS, что делает их менее доступными
Iwata Eclipse HP-CS

+ Высочайшее японское качество, точность подгонки деталей, долговечность, универсальность для профессионалов
- Высокая цена, возможна сложность в настройке для новичков
JONNESWAY JA-101

+ Удобный эргономичный корпус, прочный стальной корпус, качественное распыление - Низкое качество обработки деталей (шлифовки), мягкое сопло
Критерии оценки дизайна
Философия бренда
Философия JAS строится на принципах доступности и демократизации творчества. Бренд нацелен на то, чтобы предоставить начинающим художникам и моделистам надежный и простой в использовании инструмент для старта без значительных финансовых вложений.
Финансовое преимущество
Ключевое финансовое преимущество данной модели — её исключительное соотношение цены и качества. Низкая цена делает аэрографию доступной для широкой аудитории, а простота конструкции снижает стоимость владения и ремонта.
Слабые стороны
Аэрограф имеет компромиссы в качестве изготовления: ненадежное хромированное покрытие и хрупкое сопло, что может приводить к поломкам при неосторожном обращении. Кроме того, отмечается нестабильное качество сборки на выходе.
Проблема потребителя
JAS решает проблему «первого аэрографа», позволяя новичкам познакомиться с технологией, отработать базовые навыки и понять свои потребности перед переходом на более профессиональное и дорогое оборудование.
Анализ архетипа
Легкая форма корпуса, продолжающая линию руки, метафорически выражает идею удлинённой кисти. Она осталась практически неизменной с первых моделей.
Удлинённая форма и игла — это форма выражения направленного действия и ювелирной точности.
Плавная, вытянутая и текущая, как и краска, с которой работает аэрограф.
Визуализация
Техническая схема